Descripción

Resumen
Para Paneles KIDDE
- VS1, VS4
- FX-64, FX-1000
- VM-1R
BPS10A 10 Amp Booster Power Supply
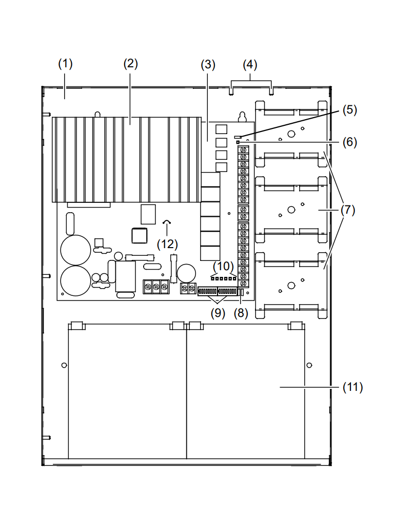
La fuente de alimentación de refuerzo (BPS) es una fuente de alimentación listada en UL 864, décima edición. Es una unidad supervisada, regulada por filtrado y de 24 V CC que se puede configurar fácilmente para proporcionar circuitos de aparatos de notificación (NAC) adicionales o energía auxiliar para notificación masiva/comunicación de emergencia (MNEC), así como aplicaciones de seguridad humana. El BPS contiene los circuitos para monitorear y cargar baterías internas o externas. Su carcasa de acero tiene espacio para hasta dos baterías de 10 amperios hora. El BPS tiene cuatro NAC Clase B (convertibles en dos Clase A). Estos se pueden activar en uno o dos grupos desde los exclusivos circuitos de entrada dual del BPS. El BPS está disponible en modelos de 6,5 o 10 amperios. Cada circuito de salida tiene una capacidad de tres amperios; El consumo total de corriente no puede exceder la clasificación de la unidad.

Características
- Permite instalar energía filtrada y regulada confiable donde sea necesario
- Expansión rentable del sistema
- Proporciona sincronización de dispositivos de notificación de integridad mejorada y Génesis
- Admite operación de salida codificada
- Protección contra sobrecorriente con restauración automática
- Velocidades de señal múltiples
- Puede conectarse en cascada o controlarse de forma independiente
- Fácil configuración en campo
- Los LED de diagnóstico integrados identifican fallas internas o de cableado
- Gabinete de acero estándar con llave EDWARDS y puerta removible
- Modelos de 110 y 230 VCA disponibles
- Admite tamaños de cables de 18 a 12 AWG
- Interruptor antisabotaje opcional
- Velocidades de carga de batería duales
- Opcional Endurecimiento sísmico: Preaprobación sísmica de OSHPD para el factor de importancia del componente 1.5

Funciones
El BPS proporciona energía y circuitos adicionales para aparatos de notificación y otras cargas de 24 VCC. Está listado para lugares interiores secos y se puede instalar fácilmente donde sea necesario.
Las condiciones de falla se indican en los LED de diagnóstico a bordo, abriendo el circuito de detección de entrada del BPS y el relé de falla (si está programado). Si bien esto proporciona una indicación al sistema host, el BPS aún se puede activar mediante una orden. Hay un contacto de fallo de CA independiente disponible en la placa de circuito del BPS, que se puede programar para detectar problemas o fallo de CA. Hay siete LED de diagnóstico integrados: uno para cada falla de NAC, uno para falla de batería, uno para falla a tierra y uno para alimentación de CA.
Los exclusivos circuitos de activación de entrada dual del BPS se pueden activar con cualquier voltaje de 6 a 45 VCC (regulado por filtro) o de 11 a 33 VCC (rectificado de onda completa, sin filtro). El primer circuito de entrada se puede configurar para activar de 1 a 4 de las cuatro salidas posibles. El segundo circuito de entrada se puede configurar para controlar los circuitos 3 y 4. Cuando las salidas se configuran para operación auxiliar, estos circuitos se pueden configurar para permanecer encendidos o desactivarse automáticamente 30 segundos después de que se pierde la alimentación de CA. Esta característica hace que estos circuitos sean ideales para aplicaciones de soportes de puertas. El BPS también tiene una salida independiente de 200 mA y 24 V CC que se puede utilizar para alimentar módulos de activación internos.
Los NAC BPS se pueden configurar para una salida temporal o continua 3-3-3. Esto hace que el BPS sea ideal para aplicaciones que requieren velocidades de señalización que no están disponibles en el sistema principal. Además de las velocidades de señal generadas internamente, el BPS también se puede configurar para seguir la velocidad de señal codificada de los NAC principales del sistema. Esto permite una expansión fluida de los NAC existentes. El gabinete BPS tiene soportes de montaje para hasta tres módulos Signature a la derecha de la placa de circuito.
Especificación de ingeniería
Suministre, cuando sea necesario, fuentes de alimentación de refuerzo (BPS) de la serie EDWARDS BPS que estén interconectadas y supervisadas por el sistema principal. El BPS funcionará como una fuente de alimentación auxiliar independiente con su propia batería totalmente supervisada. El complemento de batería del BPS deberá tener un tamaño que coincida con los requisitos del sistema principal. El BPS será capaz de supervisar y cargar baterías con una capacidad de 24 amperios-hora para aplicaciones de notificación masiva/comunicación de emergencia (MNEC) y seguridad humana.
<<El BPS deberá poder instalarse para un componente sísmico. Factor de importancia de 1,5.>> El BPS deberá proporcionar un mínimo de cuatro circuitos Clase B independientes y totalmente supervisados que puedan configurarse en campo para circuitos de aparatos de notificación o circuitos de alimentación auxiliares de 24 V CC. Los NAC de BPS serán convertibles a un mínimo de dos NAC de Clase A. Cada circuito de salida del BPS tendrá una potencia nominal de 3 amperios a 24 V CC. Cada circuito de salida deberá contar con protección contra sobrecorriente de restauración automática. El BPS deberá poder operarse desde el sistema principal NAC y/o los módulos de control EDWARDS Signature Series. Los NAC de BPS serán configurables para velocidad continua o temporal 3-3-3. Las condiciones de falla en el BPS no impedirán el funcionamiento del sistema principal NAC. El BPS deberá contar con un circuito de detección de falla a tierra y un relé de falla de CA separado.

Dimensiones
Dimensiones en pulgadas y centímetros
Enrutamiento de cables
Notas:
- Mantenga un espacio de 1/4 de pulgada (6 mm) entre el cableado con y sin limitación de energía o use cable tipo FPL, FPLR o FPLP según NEC.
- Energía limitada y supervisada cuando no está configurada como energía auxiliar. No supervisado cuando se configura como energía auxiliar.
- La fuente debe tener energía limitada. La fuente determina la supervisión.
- Cuando utilice baterías más grandes, asegúrese de colocar los terminales de la batería hacia la puerta.


Especificaciones
Voltaje de línea de CA: 120 VCA o 220-240 VCA 50/60 Hz 580 watts
Clasificaciones del circuito del aparato de notificación: 3,0 A máx. por circuito a 24 V CC nominal 10 A máximo en total todos los NAC
Relé de problema: 2 amperios a 30 V CC
Salidas auxiliares: Cuatro salidas configurables reemplazan a los NAC 1, 2, 3 o 4. como salidas auxiliares y auxiliares dedicados de 200 mA. (Se puede utilizar un máximo de 8 amperios para salida auxiliar)
Corriente de entrada (de un NAC existente): 3 mA a 12 V CC, 6 mA a 24 V CC
Corriente de supervisión interna del amplificador: 70 mA + 35 mA para cada circuito configurado en AUX
Corriente de alarma interna de refuerzo: 270 mA
Espacio de montaje exclusivo: Tiene capacidad para tres módulos de dos grupos.
Tamaño máximo de batería: 10 Amperios hora (2 de 12V10A) en gabinete hasta 24 Amperios hora con gabinete de batería externo para aplicaciones contra incendios.
Calibre del cable terminal: 18-12 AWG
Humedad relativa: 0 a 93 % sin condensación a 32 °C
Clasificación de temperatura: 32° a 120°F (0° a 49°C)
Estilos de cableado NAC: Clase A o Clase B
Velocidades de señal de salida: Continua, 3-3-3 temporal o seguir el NAC del panel instalado.
Detección de falla a tierra: Habilitar o deshabilitar mediante puente
Listados de agencias: UL, ULC, CSFM
BPS10A 10 Amp Booster Power Supply
Para Paneles KIDDE
- VS1, VS4
- FX-64, FX-1000
- VM-1R

Incluye
1 Fuente de alimentación BPS10A 10 Amp Booster Power Supply
Comentarios
Sé el primero en opinar sobre este artículo
No hay comentarios aún